LED Tuning Indicator Page

 

 
QRPGuys LED Tuning Indicator – $25

 
We are closed due to illness. We will be open for orders and shipping when you see the PayPal buttons re-appear. Technical support via email is the only service available until then.

 

 

***Please verify your address with PayPal before ordering.***

 

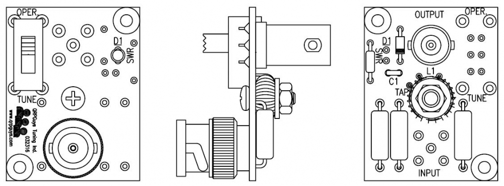
The QRPGuys LED Tuning Indicator is a standalone SWR 50Ω HF bridge that can be used with your existing tuner if it does not have built in SWR indication. It can also be used without a tuner if you are adjusting your antenna for its best resonance. Simply place it between your rig and tuner or antenna and tune or adjust your antenna for the LED to go out.  The device is rated at 10 watts PEP, 5 watts CW max. and incorporates the N7VE LED absorption bridge circuit for sensing SWR. In the TUNE position, you cannot damage your transmitter caused by a high SWR. From a shorted antenna to an open antenna, your transmitter is looking at a maximum of 2:1 SWR in the TUNE position. At full brilliance your SWR is 4:1 or greater, at half brilliance your SWR is approximately 2:1, and the LED will completely extinguish at 1:1. It has a male BNC input for direct connection to your radio without adapters and a female output connector for coax to your tuner or antenna. In the “Operate” position RF passes straight through and can stay in the circuit.

Additionally, after the antenna is tuned up, keeping the bridge in the circuit (“Tune” position) will reduce the power by a factor of four to a matched antenna. This can occasionally be useful when trying to bring a 3w QRP transmitter to under the 1w level for certain sub-one watt contest multipliers. This kit can be built in an hour or so. On a difficulty scale of 1 to 5, 5 being the most difficult, this is rated at 2.

It is small, compact, lightweight, 1.50″ x 1.25″, and weighs only 23g. (.8oz.)

 

Click here for assembly manual