KX Iambic Mini Paddle Kit

QRPGuys KX Iambic Mini Paddle Kit

 

This product has been retired.  Bare board only available – $10,   Go here to order

 

A complete kit is available here – $30

 

Your PayPal receipt is your confirmation that we have received your order. Stock availability and shipping volume can delay shipping.

 

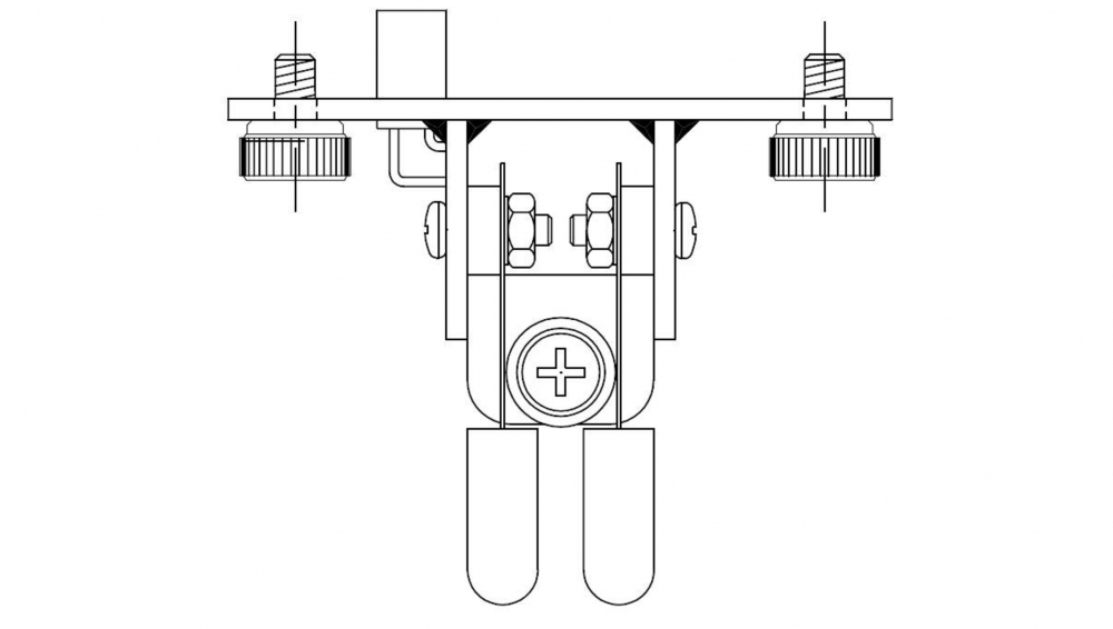
We have been asked many times if we were going to offer a low cost iambic paddle for the Elecraft KX3 or KX2 along the lines of our popular iambic and single lever paddle series kits. We have come up with a design that we are confident will fill the desire of those requests. No need to take your expensive paddle out into the field, or if you want to try an attached paddle to your KX3/KX2, here is an inexpensive practical alternative. Like our other paddle products, you construct it from the individually routed PCB pieces, and after soldering, forms a strong mechanical assembly. All the electrical circuitry is embedded into the pieces and forms the needed connections upon assembly and fits onto the standard Elecraft KX3/KX2 mounting holes and internal connector pins, like the original design, with no adapters or separate wires. The paddle is a dual lever design with all stainless steel levers and contact hardware. All hardware is included. The tools required are a soldering iron with a small tip, rosin core solder, #1 Phillips screwdriver, needle nose pliers, tweezers for the hardware, and a flat surface to work on. Allow a couple of hours or so to build. The assembly hardware is small, so on a difficulty scale of 1 to 5, 5 being the most difficult, this is rated at 4.

 

 Click here for assembly manual